据报道,小米正式发布并开源新模型“MiMo-V2-Flash”,引发多方关注。根据官方体验页面信息,MiMo-V2-Flash还支持深度思考和联网搜索功能,既能对话聊天,也能在需要实时数据、最新动态或资料核对的场景里派上用场。
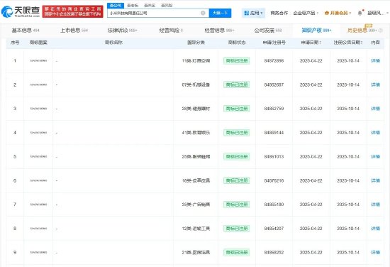
天眼查知识产权信息显示,今年4月,小米科技有限责任公司曾申请注册多枚“XIAOMI MIMO”商标,国际分类包括广告销售、科学仪器、运输工具等,当前商标状态均为已注册。


据报道,小米正式发布并开源新模型“MiMo-V2-Flash”,引发多方关注。根据官方体验页面信息,MiMo-V2-Flash还支持深度思考和联网搜索功能,既能对话聊天,也能在需要实时数据、最新动态或资料核对的场景里派上用场。
天眼查知识产权信息显示,今年4月,小米科技有限责任公司曾申请注册多枚“XIAOMI MIMO”商标,国际分类包括广告销售、科学仪器、运输工具等,当前商标状态均为已注册。


发表评论
2025-12-17 19:36:19回复
2025-12-17 21:06:31回复